主頁 > 新聞中心 > 行業(yè)動態(tài) > 解析無檁屋蓋與有檁屋蓋
解析無檁屋蓋與有檁屋蓋
2023-05-29 09:32 陜西鋼結構 華邦建設
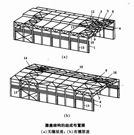
一、無檁屋蓋
無檁屋蓋一般用于預應力混凝土大型屋面板等重型屋面,將屋面板直接放在屋架或天窗架上,屋面荷載通過大型屋面板直接傳給屋架。無檁屋蓋剛度大、整體性好、施工方便,但屋蓋自重大,不利于抗震。由于受大型屋面板跨度的限制,柱距一般為6米或6米的倍數。
二、有檁屋蓋
有檁屋蓋常用于輕型材料的屋面,如壓型鋼板、壓型鋁合金板、石棉瓦、瓦楞鐵等。屋面荷載通過檁條傳給屋架。有檁屋蓋材料自重輕、用料省,且柱距不受限制,但屋面剛度差,需要設置上弦支撐,構造比較復雜。
無檁屋蓋與有檁屋蓋各有優(yōu)缺點,具體設計時需要根據使用要求、結構特性、材料供應情況和施工安裝條件等綜合考慮。
